Wanneer u een kosteneffectieve splitpin aanschaft, kan deze worden geleverd met een kwaliteitscertificaat. Dit is in feite een papierwerk waaruit blijkt dat de splitpen is gecontroleerd en aan bepaalde normen voldoet.
Het certificaat vermeldt details over de splitpin: wie hem heeft gemaakt, waar hij van gemaakt is, de grootte ervan en uit welke batch hij afkomstig is. Hieruit blijkt dat de splitpen is getest op zaken als sterkte, maatnauwkeurigheid en of hij goed buigt zonder te breken. Ze controleren ook of de oppervlaktebehandeling, zoals het verzinken, correct wordt uitgevoerd.
Het certificaat is ondertekend en afgestempeld door de inspecteurs die de tests hebben uitgevoerd. Dit papierwerk is handig voor bedrijven die moeten bewijzen dat hun splitpin aan specifieke eisen voldoet, vooral in sectoren zoals de automobiel- of productiesector waar het volgen van kwaliteit belangrijk is. Het is in feite uw garantie dat de splitpin goed is gecontroleerd voordat u deze ontvangt.
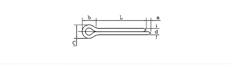
| d | 0.6 | 0.8 | 1 | 1.2 | 1.5 | 2 | 2.5 | 3.2 | 4 | 5 | 6.3 | 8 | 10 | 13 | 16 | 20 | |
| d | maximaalimaalimaal | 0.5 | 0.7 | 0.9 | 1 | 1.4 | 1.8 | 2.3 | 2.9 | 3.7 | 4.6 | 5.9 | 7.5 | 9.5 | 12.4 | 15.4 | 19.3 |
| min | 0.4 | 0.6 | 0.8 | 0.9 | 1.3 | 1.7 | 2.1 | 2.7 | 3.5 | 4.4 | 5.7 | 7.3 | 9.3 | 12.1 | 15.1 | 19 | |
| a | maximaalimaalimaal | 1.6 | 1.6 | 1.6 | 2.5 | 2.5 | 2.5 | 2.5 | 3.2 | 4 | 4 | 4 | 4 | 6.3 | 6.3 | 6.3 | 6.3 |
| min | 0.8 | 0.8 | 0.8 | 1.25 | 1.25 | 1.25 | 1.25 | 1.6 | 2 | 2 | 2 | 2 | 3.15 | 3.15 | 3.15 | 3.15 | |
| b≈ | 2 | 2.4 | 3 | 3 | 3.2 | 4 | 5 | 6.4 | 8 | 10 | 12.6 | 16 | 20 | 26 | 32 | 40 | |
| C | maximaalimaalimaal | 1 | 1.4 | 1.8 | 2 | 2.8 | 3.6 | 4.6 | 5.8 | 7.4 | 9.2 | 11.8 | 15 | 19 | 24.8 | 30.8 | 38.5 |
| min | 0.9 | 1.2 | 1.6 | 1.7 | 2.4 | 3.2 | 4 | 5.1 | 6.5 | 8 | 10.3 | 13.1 | 16.6 | 21.7 | 27 | 33.8 | |
Een kosteneffectieve splitpen wordt voornamelijk gebruikt om te voorkomen dat onderdelen losraken in machines, auto's en apparatuur. Zijn taak is om te voorkomen dat bouten, assen of andere pennen door trillingen naar buiten glijden. In een auto zul je bijvoorbeeld vaak een splitpen in de wielnaven of ophanging aantreffen om de boel veilig te houden.
In fabrieksmachines kan een splitpen worden gebruikt in scharnieren of bewegende verbindingen om alles op één lijn te houden. Op boten kan het hardware zoals schoenplaten op zijn plaats houden. Voor dagelijks gebruik kunt u een splitpen gebruiken om het mes van een grasmaaier of een fietspedaal vast te zetten. Je duwt gewoon de splitpen door een gat en buigt de twee tanden uit elkaar. Het is een eenvoudige manier om een verbinding te maken die stevig vastzit, maar toch kan worden verwijderd als dat nodig is.
Vraag: Kunt u een certificaat verstrekken voor uw kosteneffectieve splitpin?
In fabrieksmachines kan een splitpen worden gebruikt in scharnieren of bewegende verbindingen om alles op één lijn te houden. Op boten kan het hardware zoals schoenplaten op zijn plaats houden. Voor dagelijks gebruik kunt u een splitpen gebruiken om het mes van een grasmaaier of een fietspedaal vast te zetten. Je duwt gewoon de splitpen door een gat en buigt de twee tanden uit elkaar. Het is een eenvoudige manier om een verbinding te maken die stevig vastzit, maar toch kan worden verwijderd als dat nodig is.
